精選專欄 Featured
首頁 > 精選專欄
精選專欄
[專利小物]手搖杯提袋
2018-05-25
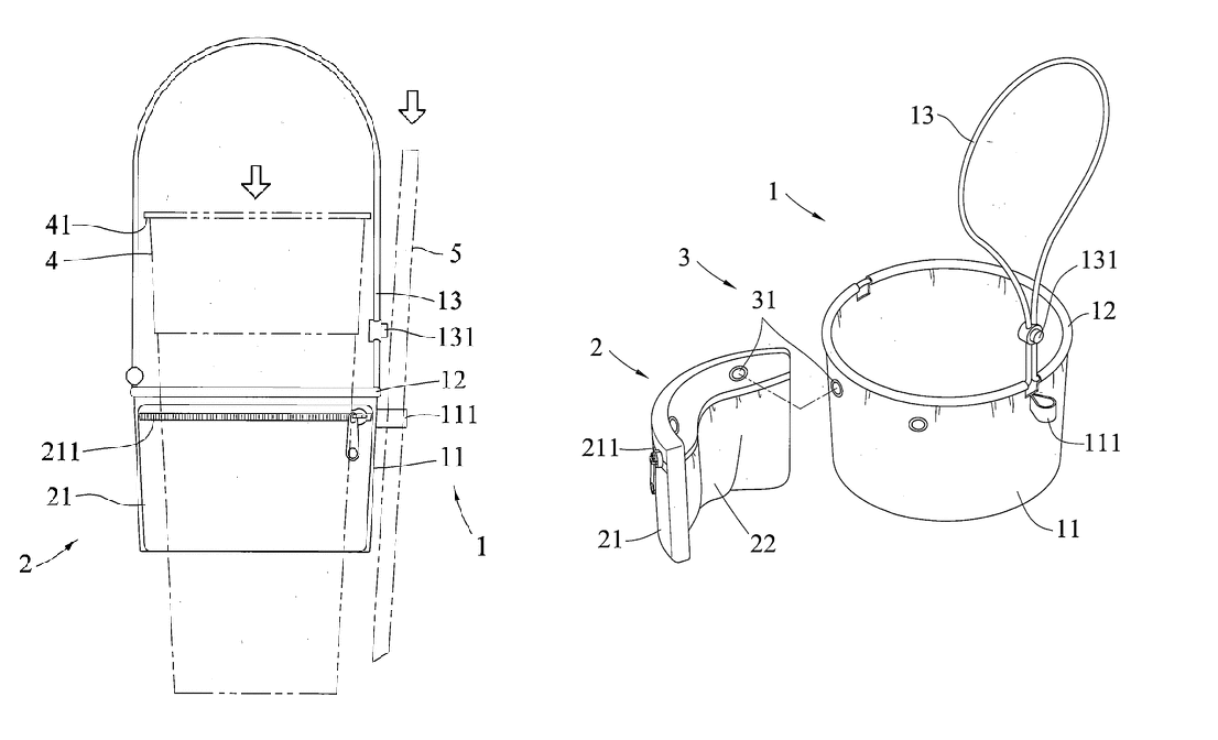
專利小物-手搖杯提袋
在今年107年1月1日起為了響應環保政策起見,部分商店不再主動提供免費塑膠袋,於是日常人手一杯的手搖杯如果需要提袋就要自費購買。業者腦筋動得快,市場上竟出現各式花色圖樣鮮麗的提袋,也有業者看準市場,早早提出專利申請獲得專利權。
端午節將至,在天氣炎熱之下,人手一杯手搖飲之盛況應該不難想見,這種手搖杯的專利提袋不妨可以購買,除了環保之外,在暢飲同時另添趣味!
|
專利名稱 |
冷飲杯提袋結構 |
|
申請日期 |
2017/11/16 |
|
證書號 |
M557240 |
|
|
|
【ippass全球首家專利年費線上代繳機構】










