精選專欄 Featured
首頁 > 精選專欄
精選專欄
Apple發布能追踪血壓功能手錶的專利申請案
2018-07-13
您有每天量測血壓嗎?從血壓的數據中可以得知許多疾病的發生,因此若能每天記錄血壓的數值,可以有效防止像高血壓引發的病症。
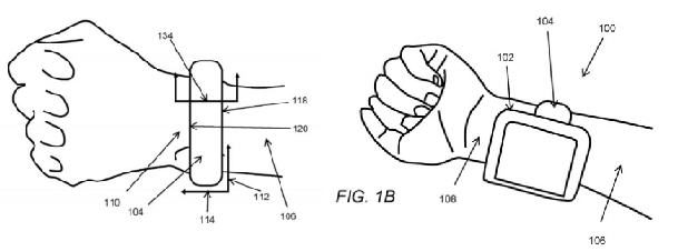
目前在美國專利智慧局中發現Apple公司先前提出一項「low-profile blood pressure measurement system」的專利申請,據專利說明書指出,Apple 血壓追測系統能結合至可攜式電子通訊裝置中,比如平板電腦、手機、手錶等,也能彎曲成圓周形狀耦合至臂帶、腿帶、腕帶中。
Apple watch除了血壓量測,據悉未來可能開發出兼具帕金森氏症追蹤功能,在可穿戴裝置市場上,Apple Watch企圖不斷結合各類病症追蹤系統的決心在這幾代apple watch 的功能上十分明顯,在智能手錶界也打響出名號。










